Готовые шаблоны
Скрины настроек
Скачать шаблон
Частые вопросы
Прошивки и инстукции
Обучающие видео
ДЯТЕЛ
Общие
События устройства
Sim-Карты
Серверы
Настройка сообщений
C.Nord
Разное. Часть 1
Разное. Часть 2
Разное. Часть 3
Серверы
Подключение клавиатур / расширителей C.nord
Прошу простить, мне лень дергать картинки с сайта C.Nord, поэтому вот вам ссылка на статью, где описывается что и куда совать
Nord Pro: подключение устройств
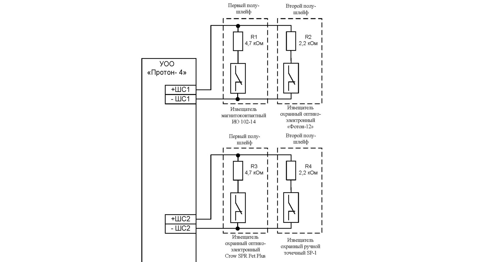
Удвоение шлейфов Протон-4 / 4G
Схема подключения
Пример программирования